







Hayward niveauregelaar met binnenwerk in pot
- Fysieke winkel in Waalre
- Officieel Dolphin service point
- Deskundig advies sinds 2003
- Snelle levering


















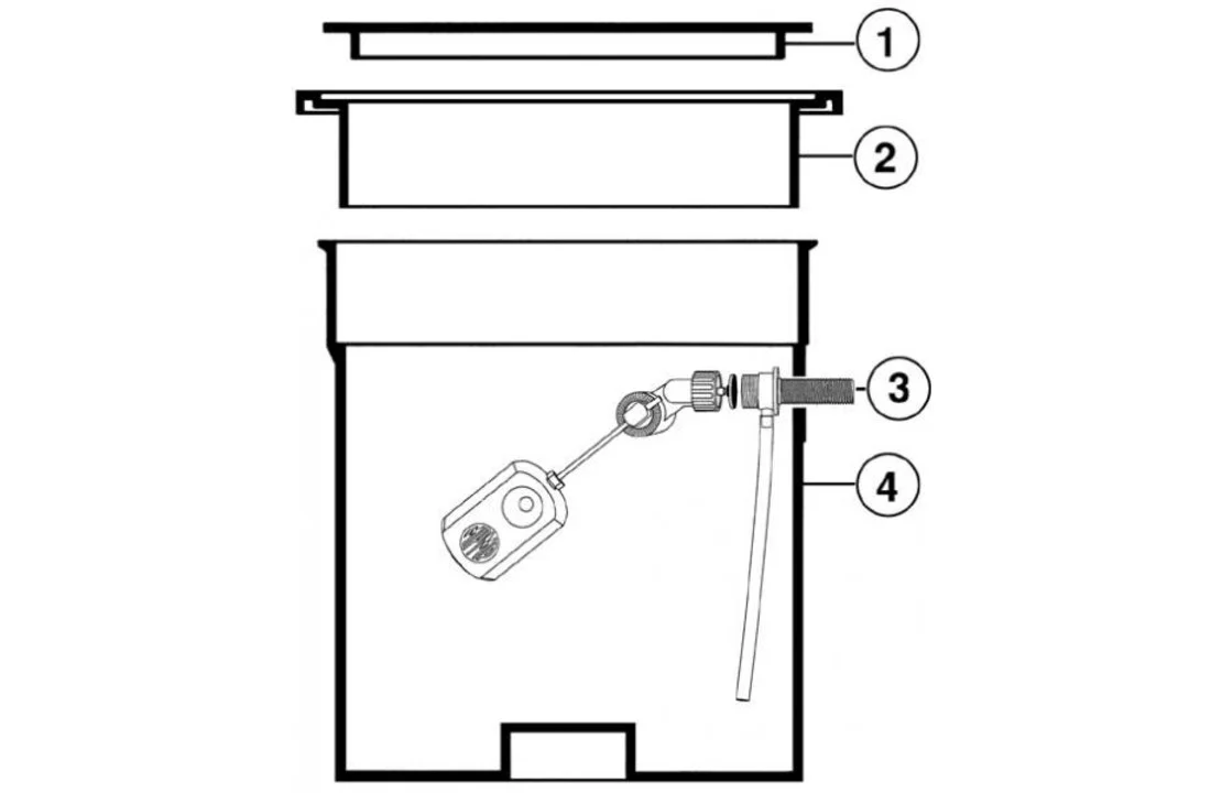
De Hayward water niveauregelaar is erg handig voor het regelen van het water van uw zwembad. U hoeft alleen maar de regelaar op de randsteen te plaatsen en de geïntegreerde drijfschakelaar in te stellen op het niveau wat u graag wilt. Daarna moet u de waterslang op de snelkoppeling aansluiten en de regelaar doet zijn werk. Wanneer het ingestelde waterniveau is bereikt, dan stopt deze automatisch.
Met deze Hayward water niveauregelaar heeft u geen overstromingsgevaar en heeft u altijd het gewenste waterniveau.
De niveauregelaar is geschikt voor natuurlijke, chloor- en zoutwater zwembaden.
Een niveauregelaar is een handig product dat automatisch het zwembad vult met water als de stand van het water te laag wordt. Na warm weer krijg je veel verdamping, of na het uitvoeren van een backwash zal het water van het zwembad namelijk wel aangevuld moeten worden met water.
Een niveauregelaar wordt geïnstalleerd naast het zwembad. In een meetbak, die in directe verbinding staat met het zwembadwater, wordt de stand van het water gemeten. Deze meting is niet afhankelijk van schommelingen in het water. Een vlotter, die drijft op het water, zal vervolgens "voelen" wanneer het water te laag staat. Hierdoor wordt de waterleiding opgezet waardoor het water wordt bijgevuld. De kraan zal automatisch afslaan als het water weer op niveau is.
Bekijk hier de gerelateerde producten

